Hardware, Fasteners & Fittings for 2004 Toyota Tundra
No.
Part # / Description / Price
Price
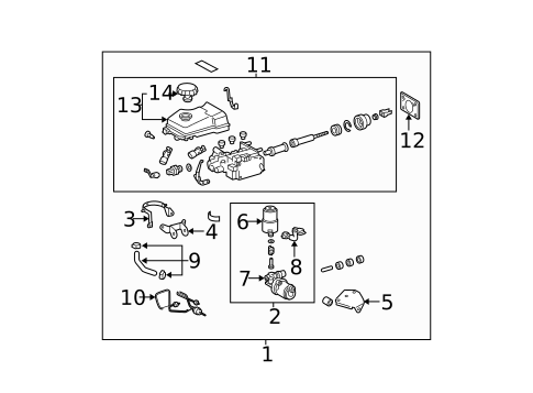
1
Power Brake Booster
Toyota
Toyota Description: Fits Tundra Brake Power Booster Unit - Repair or ReplaceIf you have a brake Pedal that is suddenly stiff or you hear a whistling noise when you step on your brakes?especially when you're stopped?the culprit may be a failed brake booster. Our technicians can easily diagnose a possible brake booster failure in your Toyota .
To 08/2005. From 08/2005. Incl.Master Cylinder. Exc.Electronic Stability Control.
MSRP $1,323.51
$883.22
MSRP $1,323.51
$883.22
2
Power Brake Booster
Toyota
Toyota Notes: PARTS: Part included in booster assembly.
Description: Fits 4Runner, Land Cruiser, TundraBrake Power Booster Unit - Repair or ReplaceIf you have a brake Pedal that is suddenly stiff or you hear a whistling noise when you step on your brakes?especially when you're stopped?the culprit may be a failed brake booster. Our technicians can easily diagnose a possible brake booster failure in your Toyota .
2001-02. 4-runner. Land Cruiser. Accumulator & pump assy. Motor & accumulator assy. Double cab, with stability control, 2004.
MSRP $1,003.70
$779.87
MSRP $1,003.70
$779.87
3
Actuator Pump Band
Toyota
Toyota Notes: PARTS: Part included in booster assembly.
Description: Double cab, with stability control, 2004.
MSRP $15.92
$11.96
MSRP $15.92
$11.96
5
Pump Bracket
Toyota
Toyota Description: 2001-02. Double cab, with stability control, 2004.
MSRP $21.60
$16.24
MSRP $21.60
$16.24
6
Brake Booster
Toyota
Toyota Notes: PARTS: Part included with actuator pump.
Description: Land Cruiser. Accumulator. 2001-02. 4-runner. Tundra. Double cab, with stability control, 2004.
MSRP $667.32
$445.32
MSRP $667.32
$445.32
7
Motor & Pump
Toyota
Toyota Notes: PARTS: Part included with actuator pump.
Description: Land Cruiser. Pump. 4-runner. Motor. 2001-02. Tundra. Double cab, with stability control, 2004.
MSRP $2,564.71
$1,711.50
MSRP $2,564.71
$1,711.50
8
Pressure Sensor
Toyota
Toyota Notes: PARTS: Part included with actuator pump.
Description: 2003-05. Double cab, with stability control, 2004.
MSRP $27.10
$20.36
MSRP $27.10
$20.36
9
Hose
Toyota
Toyota Notes: PARTS: Part included in booster assembly.
Description: Double cab, with stability control, 2004.
MSRP $21.44
$16.11
MSRP $21.44
$16.11
10
Tube
Toyota
Toyota Notes: PARTS: Part included in booster assembly.
Description: Double cab, with stability control, 2004.
11
Master Cylinder
Toyota
Toyota Notes: PARTS: Part included in booster assembly.
Description: Tundra. Double cab, with stability control, 2004.
12
Gasket, Brake Booster
Toyota
Toyota Notes: PARTS: Part included in booster assembly.
Description: Fits 4Runner, Land Cruiser, Sequoia, Tacoma , Tundra
1995-00. 2001-02. With stability cntrl, inner. Access cab, with stability control. Regular cab, with stability control. 2001-03, 2004 without stability control. Double cab, with stability control, 2004.
MSRP $10.46
$7.86
MSRP $10.46
$7.86
13
Reservoir Assembly
Toyota
Toyota Notes: PARTS: Part included with master cylinder.
Description: 2003-05. Tundra. Double cab, with stability control, 2004.
MSRP $246.49
$167.45
MSRP $246.49
$167.45
14
Cap
Toyota
Toyota Notes: PARTS: Part included in Reservoir assembly.
Description: 2003-05. 2001-02. Double cab, with stability control, 2004.
MSRP $17.79
$13.36
MSRP $17.79
$13.36
Related Parts
Part # / Description / Price
Price
MSRP $65.18
$47.03
MSRP $65.18
$47.03
Drum Brake Shoe Hold Down Pin
Toyota
Toyota Positions: Rear
Description: Leading. Exc.1-Ton Or Incomplete Chassis. Hold Down. 9.84 x 1.57" Brakes. 7.09 x 1.08" Brakes. Front. 1/2 Ton Chassis. 11.61 x 1.97" Brakes. Primary. 10 x 1.97" Brakes.
MSRP $3.14
$2.36
MSRP $3.14
$2.36
Drum Brake Shoe Hold Down Cup
Toyota
Toyota Positions: Rear
Description: 9 x 1.57" Brakes. Japan Built. 9 x 1 5/8" Brakes. Cup Only. 10 x 1.97" Brakes. USA Built. Extra Cab. 10 x 2 3/16" Brakes. 9 x 1 9/16" Brakes. Exc.1-Ton Or Incomplete Chassis.
MSRP $5.97
$4.49
MSRP $5.97
$4.49
Drum Brake Inspection Plug
Toyota
Toyota Positions: Rear
Description: Lower. Round. Japan Built. 1 Ton Chassis. 11 1/2 x 2 3/8" Brakes. 9.84 x 1.57" Brakes. 10 x 1.97" Brakes. Upper. 1/2 Ton Chassis. 11.61 x 1.97" Brakes. Inspection Plug. Extra Cab.
MSRP $3.30
$2.49
MSRP $3.30
$2.49
Parking Brake Lever
Toyota
Toyota Positions: Rear right
Description: 1/2 Ton Chassis. 11.61 x 1.97" Brakes. 1 Ton Chassis. 11 1/2 x 2 3/8" Brakes. Extra Cab.
MSRP $38.57
$28.99
MSRP $38.57
$28.99
Parking Brake Lever
Toyota
Toyota Positions: Rear left
Description: 1 Ton Chassis. 11 1/2 x 2 3/8" Brakes. 1/2 Ton Chassis. 11.61 x 1.97" Brakes. Extra Cab.
MSRP $40.40
$30.36
MSRP $40.40
$30.36
Brake Adjusting Cable
Toyota
Toyota Positions: Rear
Description: PARKING Brake, Left; PARKING Brake, Right.
Fits 4Runner, Land Cruiser, Tacoma , Tundra
Cable. Extra Cab.
MSRP $26.60
$19.99
MSRP $26.60
$19.99
Parking Brake Bell Crank
Toyota
Toyota Positions: Rear right
Description: From 08/02. Extra Cab.
MSRP $35.91
$26.99
MSRP $35.91
$26.99
Parking Brake Bell Crank
Toyota
Toyota Positions: Rear left
Description: From 08/02. Extra Cab.
MSRP $35.91
$26.99
MSRP $35.91
$26.99
Drum Brake Adjusting Lever
Toyota
Toyota Positions: Rear right
Description: Auto Adjust Lever. Extra Cab.
MSRP $7.80
$5.86
MSRP $7.80
$5.86
Drum Brake Adjusting Lever
Toyota
Toyota Positions: Rear left
Description: Auto Adjust Lever. Extra Cab.
MSRP $7.47
$5.61
MSRP $7.47
$5.61
Drum Brake Wheel Cylinder Cup
Toyota
Toyota Positions: Rear left
Description: Kit. Complete Set. Luxury Edition.
MSRP $38.90
$29.24
MSRP $38.90
$29.24
Shim Kit, Anti Squeal, Front
Toyota
Toyota Positions: Front
Description: Fits 4Runner, FJ Cruiser, Sequoia, Tacoma , Tundra
Anti-Squeal. From 10/2004. Complete Shim Kit. To 08/02. 231mm Length Caliper Housing Dimension. To 08/02. 199mm Length Caliper Housing Dimension.
MSRP $29.09
$21.86
MSRP $29.09
$21.86
Drum Brake Wheel Cylinder Spring
Toyota
Toyota Positions: Rear
Description: 9.84 x 1.57" Brakes. Bed Length 74.5". Extra Cab.
MSRP $1.98
$1.49
MSRP $1.98
$1.49
Disc Brake Caliper Bolt
Toyota
Toyota Positions: Front
Description: Mounting. 231mm Length Housing Dimension.
MSRP $3.14
$2.36
MSRP $3.14
$2.36
MSRP $6.80
$5.11
Drum Brake Shoe Return Spring
Toyota
Toyota Positions: Rear
Description: Adjust Lever. From 08/02. Extra Cab.
MSRP $4.47
$3.36
MSRP $4.47
$3.36
Drum Brake Shoe Return Spring
Toyota
Toyota Positions: Rear lower
Description: Lower. Shoe Return. 1 Ton Chassis. 11 1/2 x 2 3/8" Brakes. Brake Shoe. 1/2 Ton Chassis. 11.61 x 1.97" Brakes. Extra Cab.
MSRP $10.30
$7.74
MSRP $10.30
$7.74
Drum Brake Shoe Return Spring
Toyota
Toyota Positions: Rear right upper
Description: Upper. Right. Shoe Return. 11 1/2 x 2 3/8" Brakes. Brake Shoe. 1/2 Ton Chassis. 11.61 x 1.97" Brakes. Extra Cab.
MSRP $17.29
$12.99
MSRP $17.29
$12.99
Drum Brake Shoe Return Spring
Toyota
Toyota Positions: Rear left upper
Description: Upper. Left. Shoe Return. 1/2 Ton Chassis. 11.61 x 1.97" Brakes. Brake Shoe. 1 Ton Chassis. 11 1/2 x 2 3/8" Brakes. Extra Cab.
MSRP $16.62
$12.49
MSRP $16.62
$12.49
Drum Brake Shoe Return Spring
Toyota
Toyota Positions: Rear
Description: Parking Brake Bell Crank.
MSRP $7.47
$5.61
MSRP $7.47
$5.61
